Officina La Furia srl
Via Tor S.Antonio, 14
00013 - Fonte Nuova - Roma
P.I. 01830881007
Tel. 06 90 99 73 37
Cell. 329 37 11 490
info@officinalafuria.it
Tag: Canali aria, canalista roma, impianti canalizzati, impianti aeraulici, canali in ferro, canali in lamiera, canali in pannello preisolato antimicrobici e autosanificanti - ALP - P3 - Plenum per canalizzati, portabocchetta
Unità di aspirazione CVA Direttamente accoppiati



Unità di Aspirazione a Trasmissione CVT




DESCRIZIONE GENERALE
Queste casse ventilanti adottano motori asincroni con trasmissione a cinta e pulegge per adeguare il ventilatore alle caratteristiche del sistema di canalizzazione adottato e alle perdite di carico concentrate esistenti (filtri, batterie di scambio etc.).
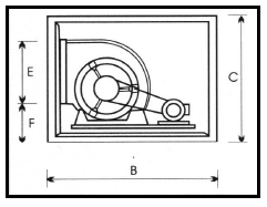
COSTRUZIONE
Il Ventilatore a doppia aspirazione, il motore, le pulegge, la cinta e la slitta sono contenute in una cassa con telaio di alluminio, angoli a tre vie in nylon, pannelli in lamiera zincata di forte spessore rivestiti internamente con materiale fonoassorbente.
ACCESSORI A RICHIESTA
Doppia pannellatura in lamiera zincata preveniciata o alluminio, tettuccio parapioggia, piedini, filtri, batterie di scambio termico ad acqua, batterie elettriche, terminale di espulsione con rete, Inverter.
PREZZI A RICHIESTA
Unità di Aspirazione CVX

L’ unità di aspirazione Serie CVX è unaunità monoblocco in grado di effettuare aspirazione e/oventilazione di aria, fumi, odori.
Le dimensioni estremamente ridotte (400x300x300)rendono la CVX particolarmente indicata per l’aspirazione di bagni etc..
La struttura portante è costituita da profili di alluminio opportunamente uniti da speciali angoli.
La pannellatura viene eseguita in lamiera zincata.
I motori sono monofase e possono essere con la coclea in plastica o in lamiera.
Portata e prevalenza sono indicate nel grafico.
Tutte le macchine sono previste per il funzionamento con bocche canalizzate; in caso contrario è necessario installare una rete di protezione